Allegro MicroSystems A19302 Hall-Effect Sensor ICs
Allegro MicroSystems A19302 Hall-Effect Wheel Speed and Direction Sensor ICs are an optimized Hall-effect integrated circuit (IC) with the PW- or AK-protocol two-wire interface, suitable for applications requiring the determination of speed and direction of the sensed target. The A19302 includes an integrated capacitor and Hall-based IC in a single overmolded small package design. The device has an additional molded lead-stabilizing bar for robust shipping and ease of assembly.The Allegro MicroSystems A19302 Hall-Effect Wheel Speed and Direction Sensor ICs features SolidSpeed Digital Architecture™ allowing highly accurate speed and rotational direction detection. The intelligent algorithms permit signal optimization and compensation to maintain stable operation in the harsh automotive environments common to wheel speed applications.
The A19302 was developed following ISO 26262 as a hardware safety element out of context with ASIL B(D) capability (pending final assessment) for use in automotive safety-related systems. The IC includes built-in EEPROM scratch memory for device traceability throughout sensor module production.
The IC is available in the UB package, which integrates the IC and a high-temperature ceramic capacitor in a single overmolded SIP package for enhanced EMC performance. The 2-pin SIP package is lead (Pb) free, with tin-lead frame plating.
Features
- Hall-effect technology allows ease of use for ring magnet and ferromagnetic target sensing
- PW or AK Protocol for speed and direction information, signal integrity, and functional status
- Integrated capacitor in a single overmolded miniature package provides greater EMC robustness
- SolidSpeed Digital Architecture™ supports advanced algorithms, maintaining pitch accuracy during dynamic air gap disturbances
- ISO 26262 ASIL B(D) with integrated diagnostics and certified safety design process (pending final assessment)
Applications
- Anti-lock Braking Systems (ABS)
- Electronic Stability Control (ESC)
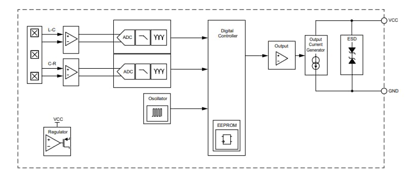
Block Diagram
Typical Application Circuit
PINOUT
