Analog Devices Inc. AD4134クワッドチャンネル対応アナログ・デジタル・コンバータ
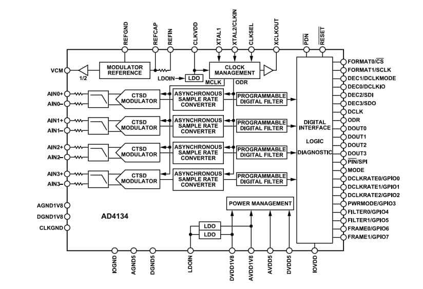
Analog Devices Inc. AD4134クワッドチャンネル対応アナログ・デジタル・コンバータ(ADC)は、高い機能性、性能、使いやすさを兼ね備えた低ノイズおよび同時サンプリングの高精度ADCです。ADI AD4134クワッドチャンネルADCは、連続時間シグマデルタ(CTSD)変調方式に基づいています。AD4134は、Σ-Δ変調器に先行してこれまで必要だったスイッチドコンデンサ回路のサンプリングを削除しているため、ADC入力駆動要件の緩和につながります。さらに、CTSDアーキテクチャは、ADCエイリアシング周波数帯域周辺での信号も本質的に拒否するため、機器にとって固有のアンチエイリアシング機能が生まれ複雑な外部アンチエイリアシングフィルタが不要になります。特徴
- エイリアスフリー:固有のアンチエイリアス除去高性能モード102.5dB(標準)
- 優れたACおよびDC性能
- ODR = 374kSPS、FIRフィルタ(標準)で108dBダイナミックレンジ
- ODR = 10SPS、sinc3フィルタ(標準)で137dBダイナミックレンジ
- THD:1kHz入力トーンで-120dB(標準)
- オフセット誤差ドリフト:0.9µV/°C(標準)
- 利得ドリフト:2ppm/°C(標準)
- INL:±2ppmのFSR(標準)
- ダイナミックレンジ拡張:4:1および2:1(平均モード)
- 126dB、A加重ダイナミックレンジ
- 抵抗性ADCとリファレンス入力
- 同期が簡単:非同期サンプルレートコンバータ
- 1本の信号線を使用したマルチデバイス同期
- 分解能0.01SPSの0.01kSPS~1496kSPSのプログラマブル・データレート
- 外部信号によって出力データレートを制御するオプション
- 直線位相デジタルフィルタ・オプション
- 低リップルFIRフィルタ:32µdb通過帯域リップル、DC~161.942kHz
- 低レイテンシsinc3フィルタとsinc6フィルタ、DC~391.5 kHz
- Sinc3フィルタ(50Hz/60Hz除去)
- 130.7dBFSクロストーク
- デイジーチェーン接続
- データとSPIに関するCRCエラーチェック
- 2通りのパワーモード:高性能モード、低消費電力モード
- 4.5V~5.5Vおよび1.65V~1.95V電源
- 1.8V IOVDDレベル
- 4.096Vまたは5V外部リファレンス
- 水晶(振動子)または48MHzの外部CMOSクロック
- SPIまたはピン(スタンドアロン)構成に対応した動作
- -40°C~+105°C動作温度範囲
- 8mm x 8mm, 56-lead LFCSP(パッド露出)でご用意あり
アプリケーション
- 電気試験と測定
- オーディオ試験
- 3相電力品質分析
- ループ検証での制御とハードウェア
- ソナー
- 予測保守のための状態監視
- 音響および材料科学の研究と開発
ビデオ
ブロック図
公開: 2021-12-27
| 更新済み: 2025-07-31
