AD5940/AD5941計測チャンネルは、16ビット、800kSPS、マルチチャンネル逐次比較レジスタ(SAR)アナログデジタルコンバータ(ADC)が特徴で、入力バッファ、内蔵アンチエイリアス・フィルタ、プログラマブル・ゲイン・アンプ(PGA)が備わっています。ADCの前面にある入力マルチプレクサによって、ユーザーは、測定のための入力チャンネルを選択できます。これらの入力チャンネルには、複数の外部電流入力、外部電圧入力、内部チャンネルが搭載されています。内部チャンネルによって、内部供給電圧、ダイ温度、リファレンス電圧の診断測定が可能になります。
AD5940は、2.8V~3.6V供給で動作し、-40°C~+85 °Cの温度範囲に指定されています。AD5940は、56リード、3.6mm × 4.2mmウェハーレベルチップスケールパッケージ(WLCSP)に梱包されています。
AD5941は、48リード・リードフレーム・チップ・スケール・パッケージ (LFCSP) でご用意があります。
特徴
- アナログ入力:
- 16ビット、800ksps ADC
- 電圧、電流、インピーダンス機能
- 内部および外部電流と電圧チャンネル
- 超低リーク・スイッチ・マトリックスと入力MUX
- 入力バッファとプログラマブル・ゲイン・アンプ電圧DAC
- 電力:
- パワーオンリセット
- センサ・バイアスを維持できるパワーアップされたローパワーDACおよびポテンショスタット・アンプ搭載ハイバネートモード
- アンプ、加速度計、リファレンス:
- 電気化学センシングでのポテンショスタット・バイアスに適した低消費電力・低ノイズのポテンショスタット・アンプ1台
- 電流出力の計測に最適な1低ノイズ、低消費電力トランスインピーダンスTIA 1台
- センサ出力用のプログラマブル負荷とゲインレジスタ
- アナログ・ハードウェア・アクセラレータ
- デジタル波形ジェネレータ
- フィルタの受け取り
- コンプレックス・インピーダンス計測(DFT)エンジン
アプリケーション
- 電気化学測定
- 電気化学ガスセンサ
- ポテンショスタット/電流測定/ボルタンメトリ/サイクリックボルタンメトリ
- 生体インピーダンス
- 皮膚インピーダンス
- 生体インピーダンス
- 連続グルコース監視
- バッテリインピーダンス
仕様
- アナログ入力、アンプ、加速度計、リファレンス:
- 16ビット、800ksps ADC
- デュアル出力電圧DAC(0.2V~2.4V出力電圧あり)
- センサに対して±607mV出力
- 範囲: 50pA~3mA
- 2.5Vおよび1.82Vの内部リファレンス電圧源
- 6.5µAの超低消費電力ポテンシオスタット・チャンネル
- 電力:
- 供給: 2.8V~3.6V
- 入力/出力準拠: 1.82V
- パッケージと温度範囲:
- 56ボールWLCSP
- 寸法3.6mm x 4.2mm
- 動作温度範囲: -40°C~85°C
ビデオ
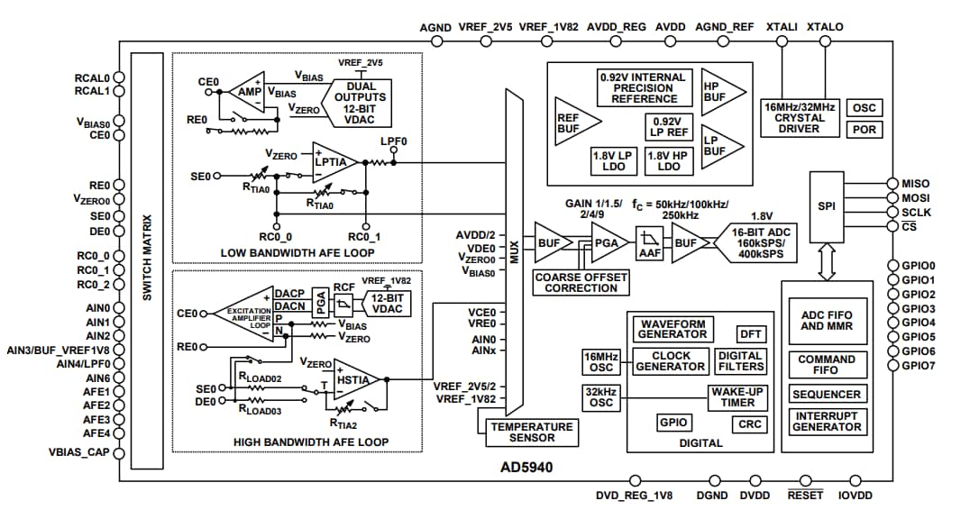
簡略ブロック図
公開: 2019-05-07
| 更新済み: 2026-03-25

