Analog Devices / Maxim Integrated DS28C40 DeepCover車載I2C認証システム
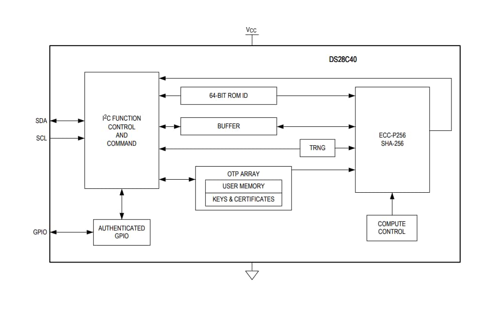
Maxim Integrated DS28C40 DeepCover車載I2C認証システムは、統合非対称(ECC-P256)および対象(SHA-256)セキュリティ機能から派生した暗号ツールのコアセットを実現しています。このデバイスには、FIPS/NIST真の乱数発生器(TRNG)、ユーザーデータ用の6KBワンタイム・プログラマブル(OTP)メモリ、鍵と証明書、構成可能なGPIO 1個、一意の64ビットROM識別番号(ROM ID)が集積されています。ECC公開/非公開キー機能は、NIST定義のP-256カーブから動作し、FIPS 186-4準拠のECDSA署名生成および検証が含まれており、双方向非対称キー認証モデルに対応できます。SHA-256秘密キー機能はFIPS 180に準拠しており、複数のHMAC機能を対象にECDSA操作との連動または単独でのいずれかで柔軟に使用されています。²GPIOピンには、コマンド制御の下で動作するオプションがあり、認証済および未認証の動作に対応できる構成可能性があります。これには、ホストプロセッサの安全な起動に対応できるECDSAベースの暗号堅牢モードが含まれます。DeepCover®は、最も安全な重要ストレージを実現するために、高度なセキュリティの複層の下、安全ソリューションクロークセンシティブデータを埋め込んでいます。アクティブ・ダイ・シールド、暗号化キーの格納、アルゴリズム的な方法をはじめとする侵襲的および非侵襲的な対策が実装されており、デバイス・レベルのセキュリティ攻撃から保護できます。
特徴
- ECC-P256計算エンジン
- FIPS 186 ECDSA P256署名の生成と検証
- セッション鍵の確立のためのECDH鍵交換
- ECDSA認証済R/Wの構成可能メモリ
- SHA-256計算エンジン
- 双方向認証のためのFIPS 198 HMAC
- ECDH構築済キーを使用して構成できるメモリのSHA-256ワンタイムパッド暗号化R/W
- オプションの認証制御を用いた1つのGPIOピン
- オープンドレイン、4mA/0.4V
- オプションのSHA-256またはECDSA認証済オン/オフと状態読取
- セキュアブートのためのマルチブロックハッシュ後にオン/オフを設定するためのオプションのECDSA認証
- 読み出しのための機能を備えたNIST SP 800-90B準拠エントロピーソースでのTRNG
- オプションのECCオプション用チップ生成済秘密鍵/公開鍵(Pr/Pu)ペア
- ユーザーデータ、鍵、認証の6KBワンタイムプログラマブル(OTP)
- 固有かつ不変の出荷時設定の64ビット識別番号(ROM番号)
- 暗号とキー操作に対するオプションの入力データコンポーネント
- I2C通信、最高1MHz
- 3.3V ±10%、-40°C~+125°C動作範囲
- 10-Pピン、3mm x 4mm TDFNパッケージ
- AEC-Q100 Grade 1
アプリケーション
- 車載用セキュア認証システム
- 識別とキャリブレーション用の車載部品/工具/アクセサリ
- IoTノード暗号保護
- アクセサリや周辺機器の安全な認証
- ホストコントローラ用暗号キーのセキュアストレージ
- ファームウェアおよび/またはシステムパラメータをセキュアブートまたはダウンロード
ビデオ
簡略ブロック図
Typical Application Circuit
Additional Resources
公開: 2019-07-23
| 更新済み: 2025-08-14
