Microchip Technology PIC16F1845x 8ビット・マイクロコントローラ
Microchip PIC16F1845x 8ビット・マイクロコントローラは、インテリジェント・アナログ、コア独立周辺機器(CIP)、通信周辺機器を組み合わせるように設計されており、極めて低い消費電力(XLP)技術が用いられています。これらのマイクロコントローラは、12ビットのアナログ・デジタル・コンバータを活用している柔軟性に富んだソリューションで、計算(ADC 2)、メモリアクセス区分化(MAP)、デバイス情報領域(DIA)、ペリフェラルピン選択(PPS)が備わっています。PIC16F1845xマイクロコントローラは、-40℃~85℃の温度範囲内および1.8V~3.6V(PIC16LF1845x)または2.3V~5.5V(PIC16F1845x)の電圧範囲で動作します。PIC16(L)F1845x 8ビット・マイクロコントローラは、28ピンSPDIP、SSOP、SOIC、VQFNパッケージでご用意があり、設計者の要件に適しています。特徴
- コア:
- Cコンパイラ最適化RISCアーキテクチャ
- 50のインストラクションのみ
- 動作速度:
- DC – 32MHzクロック入力
- 125nsの最小インストラクションサイクル
- 割り込み機能
- 16レベル・ディープハードウェアスタック
- タイマー:
- 最大2つの24ビットタイマ
- 最大4つの8ビットタイマ
- 最大4つの16ビットタイマ
- 小電流パワーオンリセット(POR)
- 構成可能パワーアップタイマ(PWRT)
- ブラウンアウトリセット(BOR)
- 低消費電力BOR(LPBOR)オプション
- ウィンドウモード対応ウォッチドッグタイマー(WWDT):
- 可変プリスケーラ選択
- 可変ウィンドウサイズ選択
- ハードウェア(構成ワード)および/またはソフトウェアで設定可能
- プログラム可能なコード保護
- メモリ:
- 最大28KBプログラム・フラッシュ・メモリ
- 最大2KBデータSRAMメモリ
- 256BデータEEPROM
- 直接、間接、相対アドレッシングモード
- メモリ・アクセス・パーティション(MAP):
- 書き込み保護
- カスタマイズ可能なパーティション
- デバイス情報エリア(DIA)
- デバイス構成情報(DCI)
- 極めて低い消費電力(XLP)技術:
- スリープモード: 50nA @ 1.8V(typ)
- 監視タイマ: 500nA @ 1.8V(typ)
- 二次発振器: 500nA @ 32kHz
- 動作電流:
- 8µA @ 32kHz、1.8V(typ)
- 32µA/MHz @ 1.8V(typ)
仕様
- フラッシュタイプのプログラム・メモリ
- 28KBプログラムメモリサイズ
- 8 CPU速度 (MIPS/DMIPS)
- 2,048バイトSRAM
- 256バイトのデータEEPROM/HEF
- デジタル通信周辺機器:
- 2 x UART
- 2 x SPI
- 2 x I²C
- 5キャプチャ/比較/PWM周辺機器
- 4 x 8ビットおよび4 × 16ビット・タイマ
- 24チャンネル12ビットADC入力
- 2つのコンパレータ
- 温度範囲: -40°C~125°C
- 動作電圧範囲:
- PIC16LF18456 @ 1.8V – 3.6V
- PIC16F18456 @ 2.3V – 5.5V
- 28本のピン数
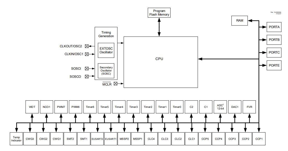
ブロック図
公開: 2018-08-02
| 更新済み: 2022-11-15
