STMicroelectronics ST7580マルチモード電力線SoCデバイス
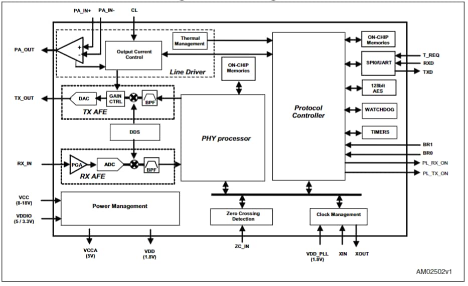
STMicroelectronics ST7580マルチモード電力線システムオンチップ(SoC)は、デュアル・デジタル・コア・アーキテクチャであるPHYプロセッサ・エンジンとプロトコル・コントローラ・コアに基づいています。これらのST7580 SoCは、ホスト・コントローラとUARTインターフェイス最高57.6kbps、AES-128ベースの認証・機密性サービス、ゼロ・クロッシング検出が特徴です。マルチモード電力線のSoCデバイスは、EN50065、FCC Part 15、ARIB準拠のアプリケーションに最適です。これらのST7580 ICは、-40°C~105°Cの温度範囲で動作します。一般的なアプリケーションには、コマンドと制御ネットワーキング、スマートメータ計測、道路照明制御があります。特徴
- 完全に統合された狭帯域電力線ネットワーキング・システムオンチップ
- 高性能PHYプロセッサ(組み込み型ターンキー・ファームウェア機能搭載):
- B-FSK変調最大9.6kbps
- B-PSK、Q-PSK、8-PSK変調最大28.8kbps
- デュアル・チャンネル動作モード
- 畳み込みエラー訂正符号化
- 信号対雑音比予測
- インパルス・ノイズに対するPNAモードを使用したB-PSK
- プロトコル・エンジン組み込みターンキー通信プロトコル:
- フレーミング・サービス
- エラー検出
- スニファ機能
- ホスト・コントローラUARTインターフェイス最大57.6kbps
- AES-128ベースの認証および機密性サービス
- EN50065、FCC Part 15、ARIB準拠のアプリケーションに最適
- 通信キャリア周波数を最高250kHzまでプログラミング可能
- VFQFPN48露出パッド・パッケージ
- 動作温度範囲:-40°C~105°C
アプリケーション
- スマートメータ
- 街路照明制御
- コマンドと制御ネットワーク
ST7580の寸法
公開: 2018-11-29
| 更新済み: 2023-02-24
