Texas Instruments ADS7142プログラマブルセンサモニタ
Texas Instruments ADS7142 Nanopower、デュアルチャンネル、プログラマブルセンサモニタは、システム電力、信頼性、性能を最適化します。ADS7142は、スタンドアロンのNanopowerセンサモニタで、小型フォームファクタになっており、コスト重視の設計に最適です。このデバイスは、900nWで信号を自律的に監視します。また、効率的なホストスリープならびにウェイクアップが備わっています。チャネル毎のイベントトリガ割り込みは、プログラマブル上限/下限閾値、ヒステリシス、イベントカウンタが搭載されたデジタル・ウィンドウ・コンパレータを使用して、ADS7142で管理されます。このセンサモニタは、逐次比較レジスタアナログ・デジタル・コンバータ(SAR ADC)の前に、デュアルチャンネル・アナログマルチプレクサで構成されています。これには、センサからデータを変換してキャプチャするための、ワンショットモードが備わった内部データバッファが続きます。データ分析は高精度モードで16ビットの精度で深く実行し、障害診断のためのバッファリングを行い、迅速なデータキャプチャのためのワンショットモードを実施します。ADS7142は、1.65V~3.6Vの広い動作範囲を提供し、10ピンQFNパッケージでご用意があります。このデバイスは、小型フォームファクタと低電力消費のおかげで、スペースに制約があり/またはバッテリ駆動アプリケーションに優れています。Data analysis runs deep with 16-bit accuracy in high-precision mode, buffering for fault diagnostics, and one-shot mode for fast data capture. The ADS7142/ADS7142-Q1 provides a wide operating range of 1.65V to 3.6V and is available in a 10-pin QFN package. This device is excellent for space-constrained and/or battery-powered applications due to its small form factor and low power consumption. The Texas Instruments ADS7142-Q1 devices are AEC-Q100 qualified for automotive applications.
特徴
- 効率的なホストスリープとウェイクアップ
- 900nWでの自律モニタリング
- イベントトリガ・ホストウェイクアップ用のウィンドウ・コンパレータ
- ホストスリープ時のデータバッファリング
- 独立したセンサ設定とキャリブレーション
- デュアルチャンネル、擬似差動、または接地検出入力構成
- キャリブレーションのためのプログラマブル閾値
- 内部較正によってオフセットとドリフトを改善
- 誤トリガの防止
- 1チャンネルあたりのプログラマブル閾値
- ノイズ耐性のためのプログラマブル・ヒステリシス
- 過渡除去のためのイベントカウンタ
- コストに敏感な設計のためのスタンドアロン、Nanopowerセンサモニタ
- 小型パッケージサイズ: 1.5mm × 2mm
- ディープデータ分析
- 故障診断用データバッファ
- 16ビット精度の高精度モード
- 高速データキャプチャのためのワンショット・モード
- I2C™インターフェイス
- 1.65V~3.6Vの互換性
- 8個の構成可能なアドレス
- 最大3.4MHz(高速)
- 幅広い動作範囲
- アナログ電源: 1.65V~3.6V
- 温度範囲: –40°C~125°C
アプリケーション
- モノのインターネット(IoT)のセンサノード
- ガス、熱、PIRモーション、煙感知器
- エレベータ、エスカレータ、HVAC、産業機器などの予防保守
- ウェアラブル電子機器
- 障害インジケータのためのゼロクロス検出
- 監視機能
- プログラマブル・リファレンス機能搭載コンパレータ
- ディープラーニング人工知能用センサ
Datasheet
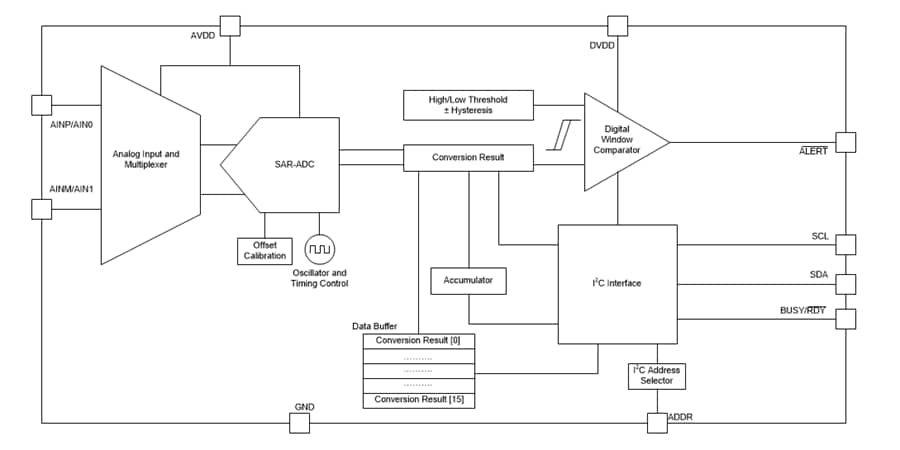
ADS7142の機能図
公開: 2018-02-08
| 更新済み: 2022-10-27
