Analog Devices Inc. AD4570 AMR磁気センサ
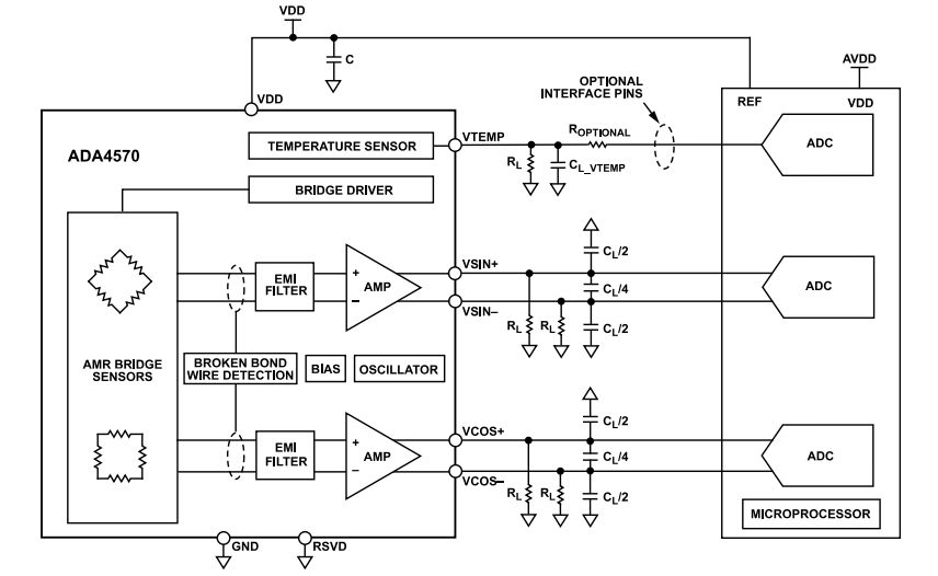
Analog Devices Inc. AD4570 異方性磁気抵抗(AMR)磁気センサは、シグナルコンディショニングアンプとアナログデジタルコンバータ(ADC)ドライバを内蔵しています。ADA4570センサは、周囲の磁場の角度位置を示す2つの差動アナログ出力を生成します。ADA4570は、AMRセンサと固定ゲイン計装アンプの2つのダイを1つのパッケージに搭載しています。AMRセンサは、角度に対して増幅されたコサインとサインの差動出力信号を出力します。AD4570センサは、非接触角度測定、高精度180°角度センサ、および故障診断機能が特徴のシングルチップソリューションです。Analog Devices Inc. AD4570 AMR磁気センサは、互いに45°の相対角度を持つ2つのホイートストーン・ブリッジを内蔵しています。双極子磁石が完全に回転すると、正弦波出力に2つの周期が生じます。SINおよびCOSの差動出力から計算される磁界の角度(α)は、磁気の物理的な方向性を表します。このAMRセンサは、車載アプリケーション向けのAEC-Q100認定を受けており、8ピン SOICパッケージで提供されます。代表的なアプリケーションには、ブラシレスDCモータ制御とポジショニング、アクチュエータ制御とポジショニング、非接触角度測定と検出、磁気角度の位置センシングなどがあります。
特徴
- 非接触角度測定
- 高精度180°角度センサ
- 角度誤差:±0.1°(代表値)
- 出力ノイズ:850μVrms
- サイン差動出力、コサイン差動出力
- 比例アナログ電圧出力
- 無視できる程度のヒステリシス
- SARまたはΣ-Δ ADC互換
- 温度補償AMRブリッジ
- 産業温度範囲:-40°C〜125°C
- 車載温度範囲:-40°C〜150°C
- EMI耐性
- 故障診断
- 動作電源電圧範囲:2.7V~5.5V
- 最小位相誤差:30,000rpmで0.85°
- 車載アプリケーション向けAEC-Q100認定取得
- シングルチップソリューション
- 8ピンSOICパッケージで提供
アプリケーション
- 絶対位置測定(リニアと角度)
- ブラシレスDCモータ制御とポジショニング
- アクチュエータ制御とポジショニング
- 非接触角度測定と検出
- 磁気角度位置センシング
ブロック図
標準的なアプリケーション回路
性能グラフ
公開: 2021-08-25
| 更新済み: 2025-02-07
