Analog Devices Inc. ADA4523-1低ノイズゼロドリフトオペアンプ
Analog Devices Inc. ADA4523-1低ノイズゼロドリフトオペアンプは、4.5V~36Vの広い電源範囲全域での高精度DC性能が特徴です。ADA4523-1は、 ±4µ Vの最高オフセット電圧および標準88nV p-p の0.1Hz~10Hz入力ノイズ電圧を達成しています。 ADA4523-1の自己較正回路図によって、温度(最高0.01 µV/°C) および時間全体でのゼロドリフトをともなう 低オフセット電圧ドリフトがもたらされます。ADA4523-1には オンチップフィルタリングが使用されており、電磁 干渉(EMI)への高い耐性を達成できます。特徴
- 電源電圧範囲:4.5V~36V
- オフセット電圧:5Vで最高±4µv
- オフセット電圧ドリフト:5Vで最高0.01µv/°C
- 入力基準ノイズ
- 電圧:標準0.1Hz~10Hzで88nV p-p
- スペクトル密度電圧:1kHzで標準4.2nV/√Hz
- レール・ツー・レール出力
- ユニティゲインで安定
- GBP:標準5MHz
- スルーレート:表運1.8V/µsの落下
- PSRR:VS = 4.5V~36Vで標準168dB
- オープンループ電圧ゲイン:VOUT = ±14.75Vで標準160dB、RL = 10KΩ、VS = 30V
- CMRR:VCM = -15.1V~+13.5V、VS= 30Vで標準160dB
- 統合型EMIフィルタ
- シャットダウンモード
- グラウンドセンス
- 8リードSOIC、8リードMSOP、8リードLFCSPパッケージオプションでご用意あり
アプリケーション
- 高解像度データ収集
- リファレンス・バッファリング
- 試験および測定
- 電子スケール
- 熱電対アンプ
- 歪みゲージ
- 低圧側電流センス
ビデオ
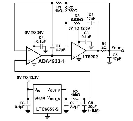
代表的なアプリケーション
公開: 2020-05-21
| 更新済み: 2025-08-24
