Analog Devices ADF4169フラクショナルN周波数シンセサイザ

Analog Devices ADF4169フラクショナルN
周波数シンセサイザ

Analog Devices ADF4169フラクショナルN周波数シンセサイザは、変調の13.5GHzシンセサイザです。 ADF4169は、低速および高速波形生成機能を実現しています。 このデバイスは、25ビット固定モジュラスが特徴です。 このモジュラスによって、サブヘルツの周波数分解能が可能になります。

ADF4169シンセサイザは、プログラマブルリファレンスディバイダ、低ノイズデジタル位相周波数検出器(PFD)、高精度充電ポンプが特徴です。 ∑-Δベースのフラクショナルインターポレータによって、プログラマブルフラクショナルN分配が可能になります。 シンセサイザのINTおよびFRACレジスタは、N = INT + (FRAC/225)として全体的なNディバイダを定義します。 シンプルな3線式インターフェースがオンチップレジスタを全て制御します。

ADF4169シンセサイザを使用して周波数位相キーイング(FSK)および位相シフトキーイング(PSK)変調を統合できます。 さらに周波数ドメインでのさまざまな波形に、周波数掃引モードを利用できます。 自動実行のために掃引を設定することができます。また手動での各設定に外部パルストリガを使用できます。

サイクルスリップ低減回路を搭載した設計が可能であり、ループフィルタに修正なしでより高速なクロック時間を実現できます。

ADF4169は、2.7V~3.45Vアナログ電源および1.8V~2.0Vデジタル電源で動作します。 使用しない時は、ADF4169シンセサイザの電源を切ることができます。

特徴
  • 13.5GHzまでのRF帯域幅
  • 高速/低速FMCWランプ生成
  • 25ビット固定係数によって、サブヘルツの周波数分解能が可能
  • 最大130MHzのPFD周波数
  • -224dBc/Hzの正規化位相ノイズフロア
  • FSKおよびPSK機能
  • ノコギリ波や三角波の生成
  • FSKと重ね合わせたランプ
  • 2つの異なる掃引速度を有するランプ
  • ランプ遅延、周波数リードバック、割り込み機能
  • プロブラマブル位相制御

  • 2.7V~3.45Vのアナログ電源
  • 1.8V~2Vデジタル電源
  • プログラマブル充電ポンプ電流
  • 3線式シリアルインターフェース
  • デジタルロック検出
  • ESD性能: 3000V HBM、1000V CDM
  • 車載アプリケーション向けに品質評価済

アプリケーション
  • FMCWレーダー
  • 通信試験装置
  • 通信インフラ
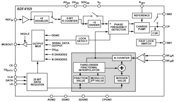
機能ブロック図
機能ブロック図

eNews
  • Analog Devices Inc.
公開: 2015-09-29 | 更新済み: 2022-03-11