Analog Devices Inc. ADRF5023シリコンSPDTスイッチ
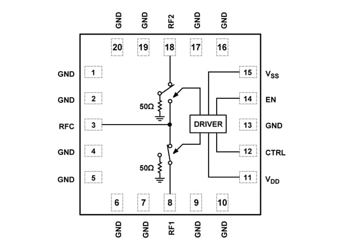
Analog Devices Inc. ADRF5023シリコンSPDTスイッチは、シリコンプロセスで製造された非反射、単極、双投(SPDT)スイッチです。ADRF5023は、9kHz~45GHzの動作範囲を実現しており、1.7dBの一般的な挿入損失および42dBの絶縁が備わっています。スイッチは、スルーパスで30dBm、終端パスで24dBm、RF共通ポートでのホットスイッチングを目的とした30dBmのRF入力電力処理能力が特徴です。このデバイスには、3.3Vの正電源および-3.3Vの負電源が必要です。ADRF5023には、相補型金属酸化膜半導体(CMOS)/低電圧トランジスタが活用されており、トランジスタロジック(LVTTL)互換制御が備わっています。ADI ADRF5023シリコンSPDTスイッチは、正の単供給電圧(VDD)でも動作し、負の供給電圧(VSS)は接地に接続されています。スイッチング特性、直線性、電力対応性能が低下している間、この動作状態において小信号性能が維持されます。
ADRF5023は、-40°C~+105°Cで動作し、20リード、3mm × 3mm、RoHS準拠、ランド・グリッド・アレイ(LGA)パッケージでご用意があります。
特徴
- 9kHz~44GHzのウルトラワイドバンド周波数範囲
- 無反射型設計
- 低挿入損失
- 0.9dB(標準)18GHz
- 1.6dB(標準)40GHz
- 1.7dB(標準)45GHz
- ハイパワー対応TCASE = 85°C
- 30dBmスルーパス
- 終端パス: 24dBm
- 30dBmホットスイッチング(RFCポート)
- 42Db(typ)~45GHzの高絶縁
- 高い入力直線性
- 31dBmの0.1dB電力圧縮(P0.1dB)
- 53dBmの3次インターセプト(IP3)
- 3.5μs RFセトリング時間(0.1dB最終RF出力)
- 低周波数スプリアス信号なし
- 全オフ状態制御
- CMOS-/LVTTL互換の正制御インターフェイス
- 20リード、3.0mm x 3.0mm LGAパッケージ
アプリケーション
- 試験装置と計測器
- 5Gミリ波セルラー・インフラ
- 軍用ラジオ、レーダー、電子対策(ECM)
- マイクロ波ラジオおよび微小開口端末(VSAT)
- 産業用スキャナ
その他の資料
ブロック図
公開: 2023-02-22
| 更新済み: 2023-02-27
