ADI ADRF5050無反射型シリコン SP4T スイッチは、+3.3V および-3.3V のデュアルサプライ電圧で動作します。さらに、このデバイスは、負電源ピン (VSS) がグランドに接続されている間に、単一の正電源電圧 (VDD) が印加されて動作します。
ADRF5050では、相補型金属酸化物半導体(CMOS)および低電圧トランジスタ-トランジスタロジック(LVTTL)と互換性のある制御機能が活用されています。このデバイスは、全オフ状態とポートミラーリングを考慮して、イネーブル制御とロジック選択制御が搭載されています。
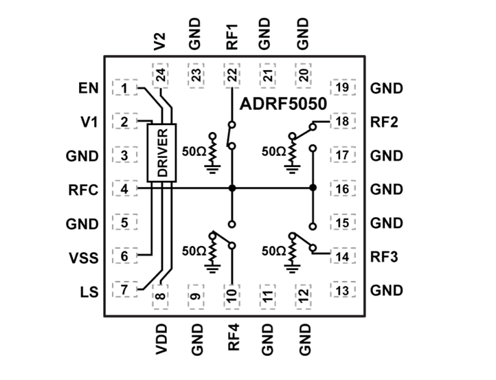
ADRF5050は ADRF5042およびADRF5043 とピン互換性があり、24端子、3mm × 3mm、RoHS準拠のランドグリッドアレイ(LGA)パッケージで提供され、-40°C~+105°Cの動作温度範囲で動作します。
特徴
- 100MHz ~ 20GHzの超広帯域周波数範囲
- 無反射型50Ω設計
- 低挿入損失
- 0.9dB(標準値)~6GHz
- 1.00dB(標準値)~12GHz
- 1.20dB(標準値)~20GHz
- RFxとRFx間の高アイソレーション
- 54dB(標準値)~6GHz
- 50dB(標準値)~12GHz
- 47dB(標準値)~20GHz
- 高RF電力に対応可能
- スルーパス 33dBm~最大20GHz
- 終端パス 18dBm~最大20GHz
- 高い入力直線性
- 34dBmのP0.1dB(標準値)
- 55dBmのIP3(標準値)
- オン/オフタイムの切り替え: 55ns
- 0.1dB セトリング時間(50% VCTRL から0.1dB 最終RFOUTまで):80ns
- 全オフ状態を制御
- ロジック選択制御
- ディレーティングされた電力対応による単一電源での動作
- 低周波数スプリアスなし
- 24端子、3mm × 3mm、ランドグリッドアレイパッケージ
- ADRF5042およびADRF5043とのピン互換性あり
アプリケーション
- テスト機器
- 軍用ラジオ、レーダー、電子対策(ECM)
- マイクロ波ラジオおよび微小開口端末(VSAT)
機能ブロック図
公開: 2023-04-28
| 更新済み: 2025-09-15

