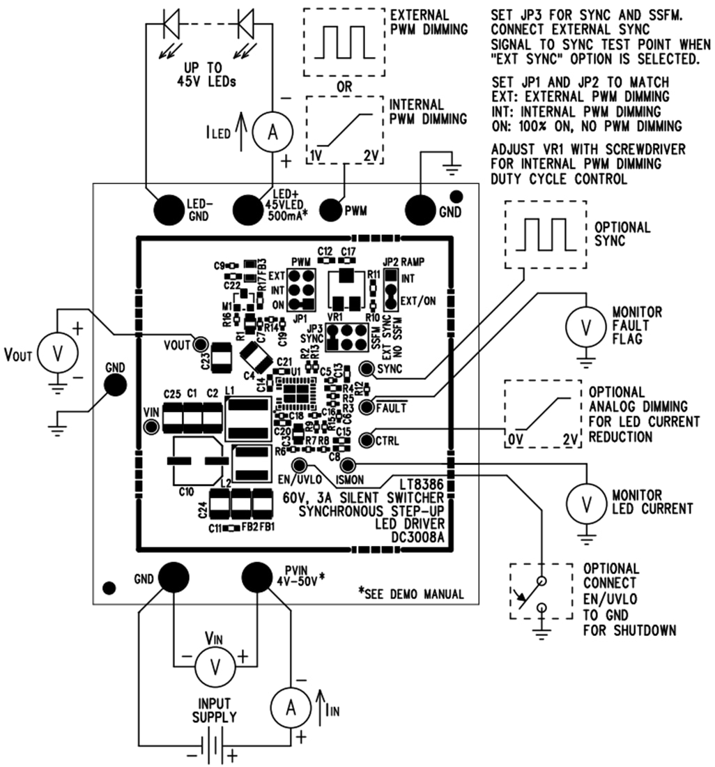
Analog Devices Inc. DC3008Aデモ回路(LT8386用)

Analog Devices DC3008Aデモ回路(LT8386用)は、LT8386を特徴とする60V 3A Silent Switcher同期昇圧LEDドライバです。VINが4V〜40Vの間の場合に500mAで最高45Vまでの単一のLEDストリングを駆動します。また、ILEDを減少することでVINまでで動作し、最高で50VのVINに対する耐性がありますが、このアプリケーションでは過電圧ロックアウト(OVLO)は45Vに設定されています。DC3008Aは340kHzのスイッチング周波数で実行します。スペクトラム拡散周波数変調(SSFM)は、ジャンパーによって簡単にONにすることができ、これによってEMIが低減します。Analog Devices DC3008Aには、最適化されたレイアウト、SSFM、入力EMIフィルタをはじめとする低EMI機能が搭載されています。

オープンLEDおよびショートLED状態の両方に対して保護されており、障害レポートを実施します。LT8386ブーストコンバータには、4V~56Vの入力電圧範囲があります。また、出力での内部同期3.3A 60Vスイッチによって、出力での最高52VまでのLED(FB抵抗器によって制御)が実現しますが、これにはオープンLED事象時の過電圧保護およびオーバーシュートの余地があります。200kHz~2MHzの間でスイッチング周波数を調整できます。外部ソースに同期したり、EMIの低減を目的にSSFMでプログラミングできます。PWMTG高圧側ハイサイドPWM MOSFETドライバは、短絡保護と汎用性を支援します。LT8386は、ブースト、ブーストバック、またはバックモードLEDドライバとして構成することができ、低EMI、PWM調光、障害診断機能を維持できます。

LT8386は、外部PWM信号または内部で生成されたPWM信号を使用してPWMを調光できます。DC3008Aには、内部で生成されたPWM信号、外部で生成されたPWM信号、無PWM信号(100% ON)の間で切り替えるように設定できるジャンパがあります。制御ピン(CTRL)での制御電圧によってアナログ調光を実施できます。PWM調光およびSSFMの両方で動作する場合、フリッカーフリー動作を目的にPWM信号をSSFM自体で整合します。

小型セラミック入出力コンデンサは、スペースとコストを節約するために使用します。ボードは、エミッションを低減するために、VOUTピンの両側に小型の高周波コンデンサを使用して設計されています。オープンLED過電圧保護には、ICの定電圧安定化ループが採用されており、LEDストリングが「開」の場合に出力が約57Vになるように安定化を図ります。出力電流は、ISMONテストポイントから監視できます。低電圧および過電圧ロックアウトは、いくつかの簡単な抵抗器を選択して回路上で調整できます。DC3008Aの入力にはEMIフィルタがあります。

試験のセットアップ

チャート - Analog Devices Inc. DC3008Aデモ回路(LT8386用)
公開: 2021-07-09 | 更新済み: 2022-03-11