Microchip Technology dsPIC33CDVC256MP506統合モータードライバ
Microchip Technology dsPIC33CDVC256MP506統合モータードライバは、デジタル信号コントローラ(DSC) と共に、3相 BLDCモーター制御用に設計されたフルブリッジMOSFETゲートドライバと自動車通信用のCANトランシーバを組み合わせています。100MHz dsPIC® DSCには、DSP、高度モーター制御PWM、12ビットA/Dコンバータ、統合オペアンプとコンパレータが搭載されており、フィールド指向制御(FOC) を実行するように設計されており、最大限のエネルギー効率と最低のシステムコストを提供しています。フルブリッジ・ゲートドライバは、6つの外部NMOS FETを制御し、低電圧動作用の統合充電ポンプ、プログラム可能なデッドタイム、包括的な保護回路を備えています。統合モータードライバは、内部3.3V LDO電圧レギュレータによって電力供給されるdsPIC DSCを使用して、最大29V (動作) および40V (過渡) の単ー電源で電力を供給できます。自動車アプリケーションには、冷却ファン、ガス、オイルおよび水ポンプ、コンプレッサ、バルブ、アクチュエータ、ターボ充電器があります。 産業用および商業用アプリケーションには、電動ツールとその他のバッテリ駆動機器があります。特徴
- AEC-Q100 REV-H準拠
- DSC動作
- 3.0V~3.6V、-40°C~+125°C、DC~100MHz
- 3.0V~3.6V、-40°C~+150°C、DC~70MHz
- 6.5V ~ 29.0V、-40°C ~ +150°C MOSFETゲートドライバ動作
- CPU
- 修正されたハーバードアーキテクチャ
- 最適化されたCコンパイラ命令セット
- 16ビットワイドデータパス/24ビットワイド命令
- 16x16ビット整数乗算演算
- 速い、6サイクル 32/16および16/16整数除算演算
- 2つの 40ビット アキュムレータ (丸めおよび飽和オプションを備えた)
- 単一サイクルの乗算と累積
- 最大40ビットデータ用の単一サイクルシフト
- 分数または整数乗算
- モーター制御PWMモジュール (MCPWM)
- 独立したタイミングを持つ4つのPWMペア (8つの出力)
- PWM分解能:2.0ns
- ADC変換のための柔軟なトリガ構成
- 立ち上がりエッジと立ち下がりエッジのための独立したデッドタイム
- プログラム可能な障害入力
- インバータ、PFC、照明、BLDC、PMSM、ACIM、SRMのサポートが特徴
- 32ビット光/増分エンコーダ・インターフェイス、直交エンコーダ・インターフェイス (QEI) モジュール
- 12ビット分解能のアナログ/デジタル コンバータ・モジュール (ADC) 、3.5Msps変換速度、最大15個のチャンネル、1つのS&H回路
- アナログ機能
- ADCモジュールに内部的に接続される出力を備えた3つのオペアンプ
- 速いアナログコンパレータ(15ns)
- スロープ補償とバッファ出力を備えた12ビットPDM DAC
- ペリフェラル・トリガ・ジェネレータ (PTG) 、複雑なトリガ信号シーケンスを生成できるシーケンサ
- 最大12つのタイマ
- 専用の16ビットタイマモジュール (タイマ1)
- 4つのキャプチャ/比較/PWM/タイマモジュール(SCCP) (2つの16ビットタイマまたは1つの32ビットタイマ付き)
- 2つの構成可能な16ビットタイマ/カウンタ付きPTGモジュール
- 32ビットタイマ/カウンタとして構成可能なQEIモジュール
- シリアル通信インターフェイス
- 3つのプロトコルUARTモジュール (LIN 2.2をサポート)
- 16バイトFIFOを備えた3つの SPIモジュール (最大50Mbps)
- 3つのI2Cホストとクライアント(アドレス マスキングとIPMIサポートを備えた)
- 2つのSENTモジュール (自動車センサをサポートする)
- ユーザー選択可能な優先仲裁を備えた4チャンネルDMA
- 機能の再マッピングをサポートするペリフェラルピン選択 (PPS)
- 32ビットプログラム可能な巡回冗長性検査 (CRC)
- 64ピンVGQFNパッケージ
アプリケーション
- 自動車
- 冷却ファン
- ガス
- オイルポンプと水ポンプ
- コンプレッサ
- バルブ
- アクチュエータ
- ターボチャージャー
- 産業および商業
- 電動ツール
- その他のバッテリ駆動機器
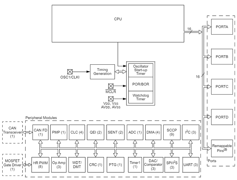
内部接続のブロック図
ブロック図
View Results ( 9 ) Page
| 部品番号 | データシート | プログラム メモリ サイズ | データ RAM サイズ | パッケージ/ケース |
|---|---|---|---|---|
| dsPIC33CDV128MP206-I/M9 | ![]() |
128 kB | 16 kB | VGQFN-64 |
| dsPIC33CDV256MP206-I/M9 | ![]() |
256 kB | 24 kB | VGQFN-64 |
| dsPIC33CDVC128MP506-I/M9 | ![]() |
128 kB | 16 kB | VQFN-64 |
| dsPIC33CDVC128MP506-E/M9 | ![]() |
128 kB | 16 kB | VQFN-64 |
| dsPIC33CDV256MP206T-I/M9 | ![]() |
256 kB | 24 kB | VGQFN-64 |
| dsPIC33CDV128MP206-E/M9 | ![]() |
128 kB | 16 kB | VGQFN-64 |
| dsPIC33CDV256MP206-E/M9 | ![]() |
256 kB | 24 kB | VGQFN-64 |
| dsPIC33CDVC128MP506T-E/M9 | ![]() |
128 kB | 16 kB | VQFN-64 |
| dsPIC33CDVC128MP506T-I/M9 | ![]() |
128 kB | 16 kB | VQFN-64 |
公開: 2024-05-06
| 更新済み: 2024-06-20

