Microchip Technology UCS2113-C USB電源スイッチと電流モニター

Microchip Technology UCS2113-C USBデュアルポート電源スイッチと電流モニターは、VBUSポートあたり3A連続電流を実現しており、高精度過電流制限(OCL)が備わっています。さらにUCS2113-Cは、ポート電力スイッチ対応、自動回復障害対応、低電圧と過電圧ロックアウト、バックドライブ保護とバック電圧保護、温度過昇保護も特徴です。

Microchip UCS2113-C USBデュアルポート電源スイッチと電流モニターは、スタンドアロンおよびSMBus/I2C通信があるアプリケーションの両方に最適です。UCS2113-Cは、SMBusアプリケーションを対象に、3.5A~5.2Aの範囲で1ポートあたりの電流監視および1スイッチあたり3通りのプログラマブル電流制限を実現します。また、3.8mAh~246.3Ahの範囲で1ポートあたりの充電比率も実現しています。UCS2113-Cは、スタンドアロンモード時に両方のスイッチで3通りの電流制限をサポートし、3.5A + 3.5A~5.2A + 5.2Aで実行します。両方の電源スイッチには、独立したVBUS放電機能が搭載されています。

UCS2113-Cデュアルポート電源スイッチと電流モニターは、4x4 mm 20ピンQFNパッケージでご用意があります。

特徴

  • デュアルポート電源スイッチ:
    • 2.9V~5.5Vソース電圧範囲
    • VBUSポートあたり3A連続電流(1スイッチあたり40mΩ ON抵抗)
    • 独立したポート電源スイッチ・イネーブル・ピン
    • DUAL障害アラート#アクティブドレイン出力ピン
    • トリップモード電流制限動作
    • 低電圧および過電圧ロックアウト
    • バックドライブ、バック電圧保護
    • 試験電流が小さい自動回復障害処理
    • 大きな負荷状態下でDC/DCコンバータ出力を増大させるBOOST#ロジック出力
  • SMBus 2.0/I2Cモード機能:
    • 各電源スイッチに割り当て可能な3つのプログラマブル電流制限
    • リクエストに応じて他のSMBusアドレスを利用可能
    • ブロック読取、ブロック書込
  • 自己完結型の電流監視(外部センス抵抗器不要)
  • ポートごとの充電配分と動作を完全にプログラミング可
  • 自動VBUS放電機能
  • -40°C~+105°Cワイド動作温度範囲
  • 車載AEC-Q100信頼性試験に合格

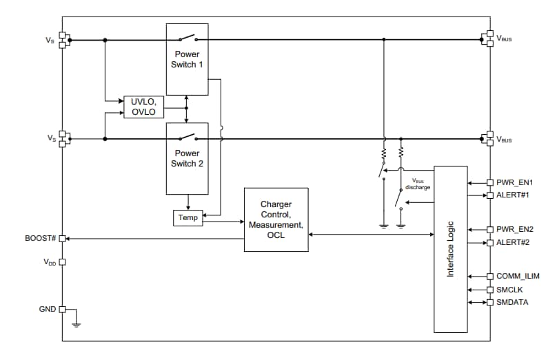
ブロック図

ブロック図 - Microchip Technology UCS2113-C USB電源スイッチと電流モニター
公開: 2021-02-09 | 更新済み: 2022-03-11