Renesas Electronics GreenPAK™ SLG4752xミックスドシグナル・マトリックス
Renesas Electronics GreenPAK™ SLG4752xミックスドシグナルマトリックスは、さまざまなアプリケーションでの効率的なミックスドシグナル機能を対象に設計されています。これらのRenesas Electronicsコンポーネントには、広範なレベルシフタ機能が備わっており、0.95V ~ 1.98Vおよび1.71V ~ 5.5Vの電圧に対処できます。V DD1 とVDD2 ドメインの通信インターフェイスを搭載しており、I2Cピン用に選択可能なVDD ドメインソースを備えています。このデバイスのコンパクトなサイズと完全に構成可能なアナログおよびデジタルブロックにより、ミックスドシグナルプロジェクトが合理化され、サイズとコストの両方が削減されます。さらに、これらのデバイスは、すべてのマクロセル全体で柔軟性に富んだユーザ定義の省電力モードに対応しており、最適なエネルギー効率を保証します。直感的なGo Configure Software Hubを使用して構成を簡単に行うことができます。特徴
- 広範なレベルシフタ機能
- 0.95V ~ 1.98Vおよび1.71V ~ 5.5Vレールをインターフェイス接続する1st GreenPAK製品
- VDD1 とVDD2 ドメインで利用可能な通信インターフェイス
- I2Cピン用に選択可能なVDD ドメインソース
- 小型パッケージとミックスドシグナルプロジェクトのサイズおよびコストの削減を目的とした、完全に構成可能なアナログおよびデジタルブロックの豊富なセット
- すべてのマクロセルを対象とした柔軟性に富んだユーザ定義の省電力モード
アプリケーション
- パソコンとサーバ
- PCの周辺機器
- 家電製品
- データ通信機器
- ハンドヘルドおよびポータブル電子機器
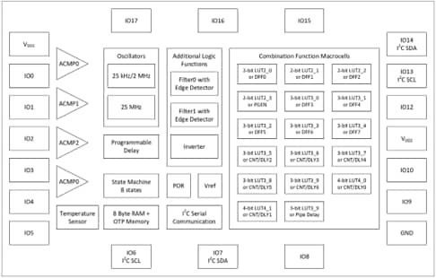
ブロック図
公開: 2024-08-19
| 更新済み: 2024-10-21
