STMicroelectronics L99LDLH32 32チャネルLEDドライバ(CAN FD Light搭載)
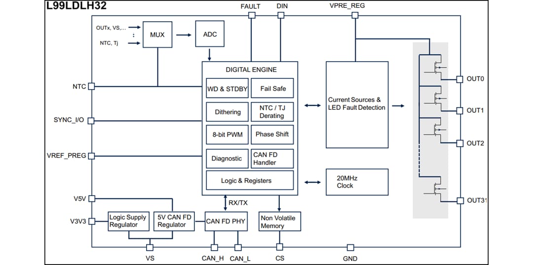
STMicroelectronics L99LDLH32 32チャンネルLEDドライバは、モノリシックリニア電流レギュレータで、車載用外装OLEDリア照明アプリケーション向けに最適化されています。L99LDLH32ドライバの出力チャンネルのハイサイド構成によって、コモンカソードでOLEDパネルを駆動できます。L99LDLH32は、最大35Vの出力駆動能力を実現しており、OLED順方向電圧要件の広い拡散に最適です。このデバイスはまた 、OLEDパネルの各ピクセルを個別に駆動するために、1mAから15mAまで個別にプログラム可能な電流を供給できる32の安定化電流源を備えています。L99LDLH32ドライバには、堅牢で純粋な車載用CAN FD光互換通信インターフェイスが統合されており、高データ伝送レート(最大1Mbit/s)が可能になり、長いフレームにCAN FD構造が採用されています。また、物理層との互換性があるCAN FD Lightに加えてプロトコルハンドラを集積しているため、Commander ECUとの通信を促進するための外付け機器は不要です。L99LDLH32は、CAN FD Light互換インターフェイスを使用してバスモードでの動作、あるいはFew Time Programmable(FTP)メモリ レジスタを使用してスタンドアロン/フェイルセーフモードでの動作が可能です。
STMicroelectronics L99LDLH32 32チャネルLEDドライバは、優れた熱性能を実現するための露出パッド付きQFN48Lパッケージで販売されています。このデバイスは、車載アプリケーションでの使用を目的としたAEC-Q100の認定を取得しています。
特徴
- AEC-Q100認定を取得済
- CAN FD Light互換シリアルインターフェイス、プロトコルハンドラ、Draft Specification Proposal (DSP) は、CAN in Automation (CiA) から入手可能
- 高精度発振器を集積(外付け水晶不要)
- リンプホームによるタイムアウト・ウォッチドッグ
- 小スタンバイ電流
- スタンドアロン、フェイルセーフ、バスモード動作
- ASIL要件をサポートする1つの機能グループの直接駆動(1直接入力)
- 組み込み非揮発性および揮発性メモリによるもっとも広い設定可能性
- 動作電源電圧範囲5.5V~40.0V
- 32の定電流出力チャネル、上側構成
- 出力電流1mA~15mA、同時出力に対応
- 最高出力電圧35V
- 8ビットDACによる1チャネルあたりの電流設定
- 外付けプリレギュレータへの帰還電圧によって安定化電圧を最適化し、全体的な消費電力の最小化を実現
- アナログ調光、8ビットPWMチャネルの個別の指数輝度制御、8ビットグローバルPWM調光
- PWM周波数をプログラム可能
- 良好なEMC性能を実現するためにスイッチのON/OFF時間、段階的な出力遅延、振動クロックを示す
- 完全で柔軟性に富んだ診断を実現する統合8ビットADC
- 故障母線の専用線
- 温度警告(1閾値)
- 過温度シャットダウン
- 短絡およびオープン負荷検出と保護
- 外部NTC測定およびデバイス接合部温度(TJ) による自動LED電流ディレーティング
- 動作温度範囲:-40°C~+150°C
- 7.0mm x 7.0mm QFN48Lパッケージ(露出パッド付き)
アプリケーション
- 自動車用OLEDリア照明
- 自動車用周囲照明
ビデオ
ブロック図
標準アプリケーション回路
公開: 2022-08-01
| 更新済み: 2024-08-05
