STMicroelectronics ST25R100 NFC/HF RFIDリーダーIC
STMicroelectronics ST25R100 NFC/HF RFIDリーダーICは、4mm x 4mm、24ピンの小型TQFNパッケージで提供され、高性能を実現します。このリーダーICには、ダイナミック電力出力(DPO)が備わった高出力電力が備わっており、小型アンテナでアプリケーションに簡単に統合できます。ST25R100リーダーICには、RC発振器とプログラマブルタイマが搭載されており、WUモード時にカードや他のNFC対応デバイスを自動的にスキャンできます。このリーダーICは、シリアル・ペリフェラル・インターフェイス(SPI)という外部通信インターフェイスが特徴で、最大6Mbit/sのデータ転送速度が備わっています。ST25R100リーダーICは、2.7V~ 5.5Vの広い電源範囲内および-25°C~ 85°Cの広い周囲温度範囲内で動作するように設計されています。一般的なアプリケーションには、美容とライフスタイル、ブランド保護、アクセサリ認識、自動パラメータ設定、識別、ヘルスケア、アクセス制御があります。特徴
- 誘導ウェイクアップに基づいて改善された低消費電力カード検出
- ダイナミック電力出力(DPO)による高出力電力
- 2つの独立したシングルエンドアンテナに接続するオプション
- 調整可能ASK変調深度
- 信号対雑音比を最大化する自動ゲイン制御とスケルチ機能
- システムPSRRをブーストする統合型レギュレータ
- アンテナ特性(I/Qチャンネル)の測定
- 256バイトFIFO
アプリケーション
- ヘルスケア
- アクセス制御
- 美容とライフスタイル
- キッチン家電と家電
- ゲームおよび教育
- ホームオートメーションとエンターテイメント
- 産業用およびツール
- IoT
- ブランド保護
- アクセサリ認識
- 自動パラメーター設定
- 識別
- メーター計測
- 交通およびチケット
- ユーザー・インタラクションと消費者エンゲージメント
仕様
- 最大データ転送速度6Mbit/sのシリアル・ペリフェラル・インターフェイス (SPI)
- 最大6VP アンテナドライバ電圧範囲
- 2.7V~ 5.5Vワイド電源範囲
- -25°C~ 85°Cワイド周囲温度範囲
- 4mm x 4mm 24ピンTQFNパッケージ
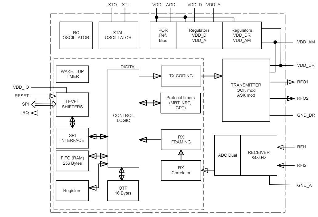
ブロック図
ピンと信号の説明
公開: 2024-06-26
| 更新済み: 2024-11-04
