システム・コントローラは、I/O構成レジスタ・ビットに書き込むことで、I/Oを入力または出力として有効にすることができます。各入力または出力用のデータは、対応する入力または出力レジスタに保持されます。入力ポート・レジスタの極性は、極性反転レジスタを使用して反転することができます。追加の特殊機能レジスタを使用して、内部プルアップ抵抗器および INT出力へのP3オーバーライドを無効にすることができます。
Texas Instruments TCA9536オープン・ドレイン割り込み出力(P3が特殊機能レジスタでINTとして設定されている場合)は、入力が対応する入力ポート・レジスタ状態と異なるとアクティブになります。入力状態が変化したことをシステム・コントローラに示すために使用されます。
システム・プロセッサは、レジスタをデフォルト状態にする I2C ソフト・リセット・コマンドを使用して、タイムアウトまたはその他の不適切な動作が発生した場合にTCA9536をリセットできます。
特徴
- I2C から GPIOへのエキスパンダ
- 動作時の電源電圧範囲:1.65V~ 5.5V
- 5V 許容 I/Oポート
- I2C一般コールによるソフトウェア・リセット
- Pポートでのソフトウェア対応統合プルアップ抵抗器
- P3はINT出力として再利用可能
- 1MHz高速モードとI2Cバス
- 入力および出力構成レジスタ
- 極性反転レジスタ
- 内部の電源投入リセット
- すべてのチャンネルが入力として構成された状態での電源投入
- SCLおよびSDA入力でのノイズ・フィルタ
- 高電流駆動の最大能力を備えたLED直接駆動のためのラッチ出力
- JESD22を超えるESD保護能力
- 2000V人体モデル (A114-A)
- 1000V充電デバイス・モデル(C101)
アプリケーション
- パーソナル・エレクトロニクス
- ウェアラブル
- 携帯電話
- ゲーム機
- サーバー
- ルータ
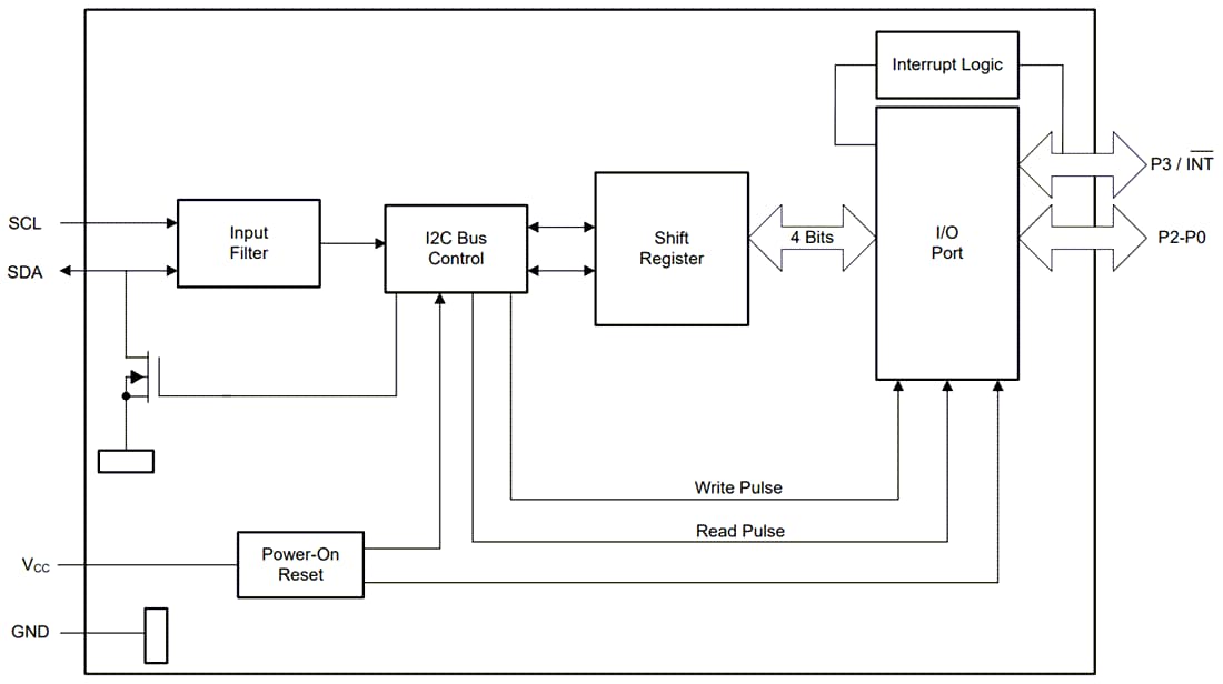
機能ブロック図
公開: 2022-03-18
| 更新済み: 2023-07-24

