Texas Instruments TMDS181 6Gbps TMDSリタイマ
Texas Instruments TMDS181 6Gbps TMDSリタイマは、デジタルビデオインターフェイス(DVI)または高品位マルチメディアインターフェイス(HDMI™)リタイマです。TMDS181は、4つのTMDSチャンネル、オーディオリターンチャンネル(SPDIF IN/RPC_OUT)、デジタル表示制御(DDC)インターフェイスに対応しています。TMDS181は、6Gbpsまでの信号速度に対応しており、1ピクセルあたり4k2k60p 24ビットの最高分解能および最大WUXGA 16ビット色深度またはより高いリフレッシュレートで1080pを実現できます。TMDS181は、HDMI2.0a規格に対応するように構成可能です。TMDS181は、低データレート(<1.0 gbps)時のリドライバとして、あるいはこのデータレータを超えるリタイマとして、自己を自動的に構成します。リドライバモードは、データ速度最大3.4gbpsのhdmi1.4に対応します。="">1.0>特徴
- 最大3.4Gbpsのデータレートに対応するCDRを備えたHDMI™入力ポート対出力ポート
- リタイマモードで最大6GbpsのHDMI™電子パラメータとの互換性あり
- 4k2k60pおよび最大WUXGA 16ビット色深度またはHigher Refresh Ratesで1080pに対応
- ランダムジッタの補償をするリタイマ入力ストリーム
- 適応型レシーバイコライザまたはプログラマブル固定イコライザ
- I2Cおよびピン・ストラップ・プログラマブル
- 5+ビットのインターペアスキュー補正
- シングルエンド・モードARC対応
- RXイコライザ後のアイダイアグラムを含むLyncのデバッグ・ツール
- 48ピン7mm × 7mm 0.5mmピッチVQFNパッケージ
- 拡張商用温度対応: 0°C~85°C(TMDS181)
- 工業用温度対応: -40°C ~+85°C(TMDS181I)
アプリケーション
- デジタルTV
- デジタル・プロジェクタ
- オーディオ/ビデオ機器
- Blu-ray™ DVD
- モニタ
- デスクトップ/オールインワン
- アクティブケーブル
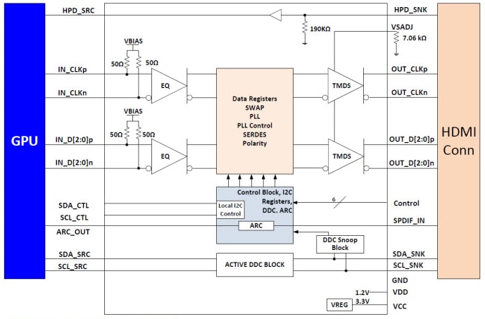
簡略図
公開: 2016-03-23
| 更新済み: 2022-03-11
