特徴
- 0.8V~16.5VのデュアルチャンネルORing制御
- 双方向阻止を目的としたスタンダードのO-ring構成およびバックバックMOSFET動作にも対応
- プログラマブル過電圧カットオフおよび不足電圧
- 動作状態および障害状態表示を実現しているオンボードLED
レイアウト
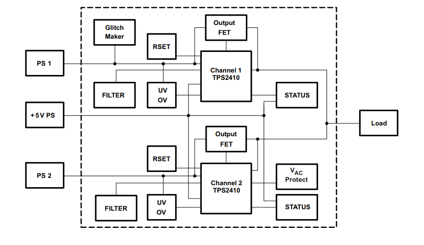
ブロック図
公開: 2019-10-25
| 更新済み: 2024-01-12
日本|
日本円
インコタームズ:発注時に消費税が加算されたDDP All prices include duty and customs fees. ¥6,000 (JPY) を超えるご注文は通常、発送無料となります |
|
米国ドル
インコタームズ:FCA (発送場所) 関税、通関手数料、消費税は、商品お届け時にお支払いください。 $50 (USD) を超えるご注文は通常、発送無料となります |