Texas Instruments TPS546E25W同期バックコンバータ
Texas Instruments TPS546E25W同期バックコンバータは、50Aデバイスで、PMBus単相FCCM動作が備わっています。このコンバータは、高集積バックコンバータで、高速過渡応答のためのD-CAP4制御トポロジが備わっています。TPS546E25Wバックコンバータのプログラマブルパラメータは、PMBusインターフェイスによって構成でき、新しいデフォルト値としてNVMに格納されており、外付け部品数を最小限に抑えます。1MHzクロックサポートが備わったPMBusインターフェイスは、便利で標準化されたデジタルインターフェイスを実現しており、重要なパラメータの構成とテレメトリを目的としています。2個、3個、4個のTPS546E25Wデバイスを相互に接続して、単一出力で最大50Aを供給できます。TPS546E25Wコンバータには、VDRVおよびVCCピン経由で外部5V電源で内蔵4.5V LDOをオーバードライブするオプションがあります。このバックコンバータは鉛フリーデバイスで、適用除外なしでRoHSに準拠しています。TPS546E25Wは、サーバおよびクラウドコンピューティングPOL、ハードウェア・アクセラレータ、ネットワーク・インターフェイス・カード(NIC)に最適です。特徴
- 入力電圧:2.7V ~ 18V(外部バイアスあり)
- 入力電圧:4V ~ 18V(外部バイアスなし)
- 出力電圧範囲0.4V~5.5V
- 50A単相をサポート(デフォルトではスタッキング無効)
- Rdson_HS = 2.6mΩ、Rdson_LS = 1mΩ
- 400kHz~2MHzの動作周波数(ピンストラップで4つの個別設定、PMBus®経由の追加設定)
- PMBusプログラマブル:
- リビジョン1.5のPASSKEYセキュリティ機能に準拠
- 入力電圧、出力電圧、出力電流、温度の遠隔測定
- 過電流、過電圧、低電圧、過熱保護機能をプログラム可能
- スタック構成での単一のコマンド書込機能を搭載
- 拡張書き込み保護機能
- 構成設定を保存する不揮発性メモリ
- 出力電圧をプログラミングする2つの方法:
- ピンストラップによって選択されたブートアップ電圧を備えた内部抵抗分圧器(ディスクリート設定)
- VBOOTによって選択されたブートアップ電圧を備えた外部抵抗分圧器(連続設定)
- 高精度電圧リファレンスおよび高出力精度のための差動リモートセンス:
- 0°C~85°Cの接合部で±0.5%のDAC精度
- -40°C~125°Cの接合部で±0.85%のVOUT許容誤差
- 単相のみでFCCM/DCMを選択可
- ピンストラップを介したPMBus通信なしで起動
- プリバイアスされた出力への安全な起動
- プログラマブル・ソフトスタート時間: 0.5ms ~ 16ms
- 高速過渡応答が備わったD-CAP4制御トポロジで、すべてのセラミック出力コンデンサをサポート
- プログラマブル内部ループ補償
- セレクタブルサイクル毎のバレー電流制限
- オープンドレイン・パワーグッド出力
アプリケーション
- サーバーおよびクラウドコンピューティングPOL
- ハードウェア・アクセラレータ
- ネットワーク・インターフェイス・カード(NIC)
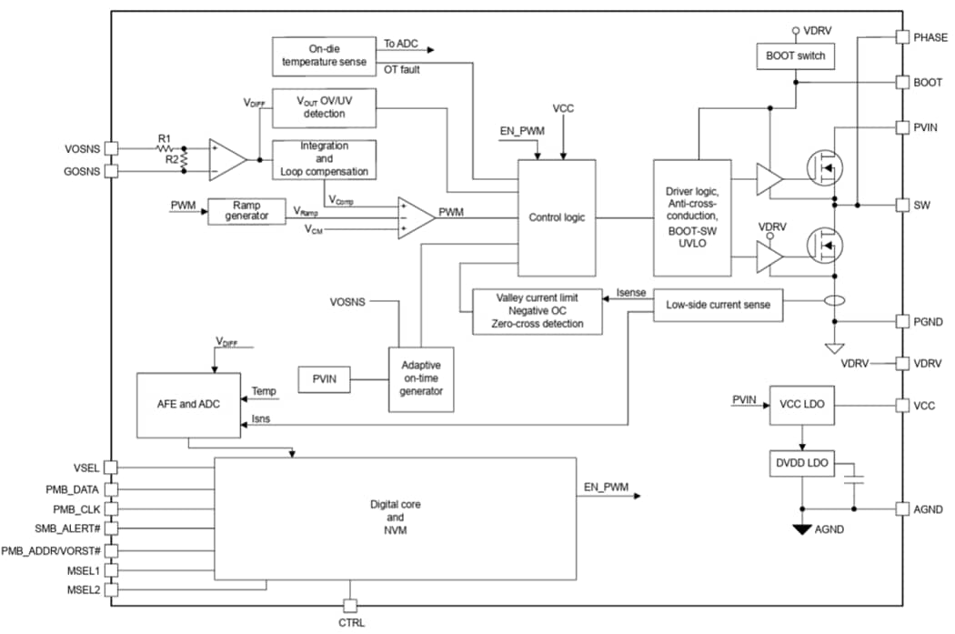
外部フィードバックが選択された場合のブロック図
回路図
公開: 2025-09-23
| 更新済み: 2025-10-29
