Texas Instruments TPSI2140-Q1車載対応、絶縁型スイッチ
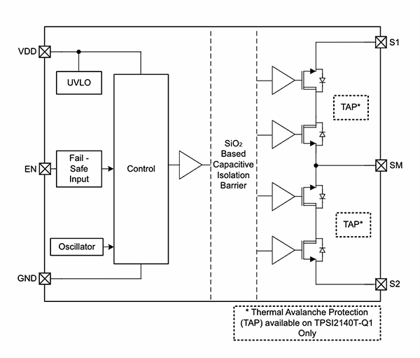
Texas Instruments TPSI2140-Q1車載用絶縁スイッチは、絶縁ソリッドステート・リレー(SSR)で、高電圧車載および産業用アプリケーションを対象に設計されています。TPSI2140-Q1は、TIの高信頼性容量性絶縁技術と内蔵の双方向(バック対バック)MOSFETを組み合わせることにより、2次側電源を必要としない完全に統合されたソリューションを形成しています。デバイスの一次側全体に必要な入力電流はわずか7.5mAのため、ユーザーは単一のマイクロコントローラGPIOからVDDおよびENピンの両方を駆動でき、フォトリレーソリューションで使用される外部ローサイドスイッチが不要になります。ユーザーは、VDDピンを5V~20Vのシステム電源に接続するか、ENピンをGPIOから駆動するかを選択することもできます。デバイスには、VDD電源に逆電力が供給される可能性を防ぐフェイルセーフENピンが組み込まれています。2 次側は双方向(バック対バック)MOSFETで構成されており、S1からS2へのスタンドオフ電圧は±1.2kVです。TPSI2140-Q1 MOSFETのアバランシェ堅牢性と熱に配慮したパッケージ設計によって、外付け部品を必要とせずに最大2mAのシステムレベルの高電位(ハイポット)スクリーニングおよびDC高速充電器サージ電流に耐えることができます。TPSI2140T-Q1バージョンに搭載されているTIの熱アバランシェ保護(TAP)機能は、アバランシェ電流能力を最大5mAまで向上させます。
特徴
- -40°C~+125°Cの車載温度範囲(AEC-Q100 Grade 1)
- アバランシェ定格2mAの内蔵MOSFET、TPSI2140T-Q1バージョンの場合は最大5mA
- 1400Vスタンドオフ電圧
- RON = 130Ω(TJ = +25°C)
- TON 、TOFF <350µs
- 堅牢な容量絶縁バリア
- 1000VRMS/1414VDC 動作電圧で26年以上の予測寿命
- 絶縁定格、VISO 、最大3750VRMS/5300VDC
- ピークサージ、VIOSM 、最大6,000V
- ±100V/ns標準CMTI
- TPSI2140T-Q1バージョンに搭載されている熱アバランシェ保護(TAP)機能
- 低一次側供給電流
- オン時電流 7.5mA
- オフ時電流 6µA
- 熱性能を向上される幅広ピンのSOIC(DWQ-11)パッケージ
- 一次側と二次側の沿面距離とクリアランスが8mm以上、
スイッチ端子間の沿面距離とクリアランスが6mm以上
- 一次側と二次側の沿面距離とクリアランスが8mm以上、
- 安全関連認定
- DIN VDE V 0884-11:2017-01
- UL 1577部品認識プログラム
アプリケーション
- ソリッドステートリレー(SSR)
- ハイブリッド、電気、パワートレインシステム
- バッテリマネジメントシステム(BMS)
- ソーラーエネルギー
- オンボードチャージャー
- 電気自動車充電器(EV)
仕様
- 3750VRMS 絶縁定格
- 内部FET
- 1xチャンネル
- 電源電圧範囲 4.5V~20V
- 負荷電圧 1400V
- 0.05A Imax
- アバランシェ電流 2mA
- ターンオン時間 70,000ns(イネーブル)
- ターンオフ時間 100,000ns(ディセーブル)
- オフ時のリーク電流 1µA
- パッケージ 10.3mm x 7.5mm、11ピンSOIC
アプリケーション図
ブロック図
公開: 2022-05-11
| 更新済み: 2023-08-15
