Texas Instruments UCC14141-Q1 5kVRMS、絶縁型DC/DCモジュール
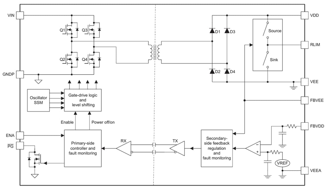
Texas Instruments UCC14141-Q1 5kVRMS 絶縁DC/DCモジュールは、車載認定の高絶縁電圧DC/DCパワーモジュールで、IGBTまたはSiCゲートドライバ・パワーを付与するように設計されています。UCC14141-Q1には、トランスとDC/DCコントローラと独自のアーキテクチャが統合されており、非常に低い排出量で高密度を達成できます。高精度出力電圧によって、パワーデバイスゲートに過度のストレスをかけることなく、より高いシステム効率を目的に、より良いチャンネル拡張が実現しています。UCC14141-Q1の入力電圧は、電気自動車の広いLiFePO4 バッテリ電圧(8V-18V)および安定化が図られた12Vレール(10.8V-13.2V)の両方をサポートしており、さまざまな出力電力が備わっています。Texas Instruments UCC14141-Q1は、完全に統合されたモジュールで、最小の外付け部品のみ必要とするオンチップ・デバイス保護が備わっており、追加の機能を実現しています。これらの機能には、入力低電圧ロックアウト、過電圧ロックアウト、出力電圧パワーグッド・コンパレータ、過温度シャットダウン、ソフトスタート時間、調整可能な絶縁正と負の出力電圧、イネーブルピン、オープンドレイン出力パワーグッド・ピンがあります。
特徴
- 絶縁変圧器搭載の高密度絶縁型DC/DCモジュールを内蔵
- 以下を駆動する絶縁型DC/DC:IGBT、SiC FET
- 8V~18Vの入力電圧範囲(絶対最大値は32V)
- 1.5Wの出力電力(TA ≤ 85°Cで10.8V < VIN < 13.2Vの場合)
- 1Wの出力電力(TA ≤ 85°Cで8V < VIN < 18Vの場合)
- 可変 (VDD - VEE) 出力電圧 (外付け抵抗による調整):温度範囲全体にわたって15V~25V、±1.3%のレギュレーション精度
- 可変 (COM - VEE) 出力電圧 (外付け抵抗による調整):温度範囲全体にわたって2.5V~ (VDD - VEE)、±1.3%のレギュレーション精度
- イネーブル、パワーグッド、UVLO、OVLO、ソフトスタート、短絡、電力制限、低電圧、過電圧、過熱保護
- スペクトラム拡散変調機能とトランスを内蔵する設計により、低電磁放射を実現
- CMTI > 150kV/µs
- 車載アプリケーションのAEC-Q100認定済み
- 温度グレード1: –40°C ≤ TJ ≤150°C
- 温度グレード1: –40°C ≤ TA ≤ 125°C
- 機能安全対応
- 機能安全システム設計を支援する文書を利用可能
- 安全関連認定(計画済)
- DIN EN IEC60747-17(VDE 0884-17)に準じた7071VPK 強化絶縁
- 5,000VRMS で1分間の絶縁(UL 1577に準拠)
- CQC GB4943.1に準じた強化絶縁
- 36ピンのワイドSSOPパッケージ
アプリケーション
- ハイブリッド、電気、パワートレインシステム(EV/HEV)
- インバータとモータ制御
- オンボード(OBC)およびワイヤレス充電器
- DC/DCコンバータ
- グリッドインフラ
- EV充電ステーション・パワーモジュール
- DC充電(パイル)ステーション
- ストリングインバータ
- モータ駆動
- ACインバータとVF駆動、ロボットサーボ駆動
- 産業輸送
- オフハイウェイ車両の電気駆動装置
機能ブロック図
デバイス比較表
公開: 2023-09-20
| 更新済み: 2024-03-11
