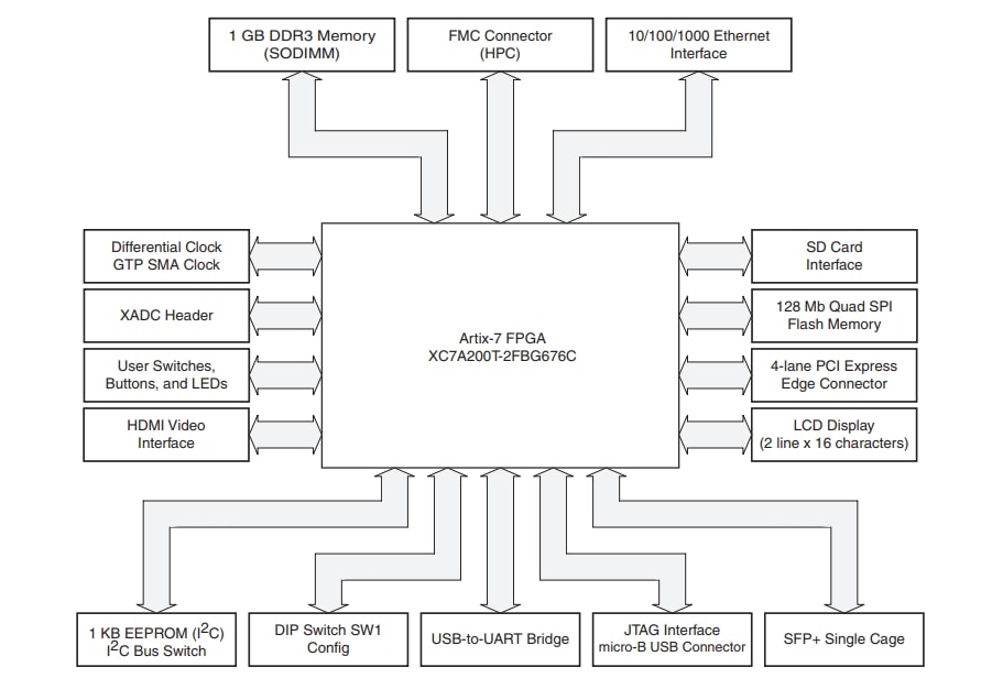
ボード上のVITA-57 FPGAメザニンコネクタに取り付けられたFPGAメザニンカード(FMC)を使用することによって、他の機能を追加することができます。このキットには、高ピン数(HPC)FMCコネクタも含まれています。Artix®-7 FPGA AC701評価キットは、高性能のシリアル接続と、Northwest Logic DMAエンジンのフルライセンスを備えた先進的メモリインターフェイスを有効にする、対象を絞ったリファレンス設計を提供します。
特徴
- Artix-7 FPGAを使用する、迅速にプロトタイピングするコストに敏感なアプリケーション用に最適化されています。
- ハードウェア、設計ツール、IP、事前検証されたリファレンス設計
- 4機のPCI Express® Gen2を使用して、高性能のデータ転送システムを表示
- AXIインターフェイスに装備されたNorthwest Logic DMAエンジンに実装されたリファレンス設計
- 最大533MHz/1066Mbpsの1GB DDR3 SODIMMでの、先進的なメモリインターフェイス
- FMC、SFP、SMAのGTPポートとの高性能のシリアル接続が実現
- MicroBlaze、ソフト32ビットRISCでの組込処理に対応
- 10-100-1000 Mbpsイーサネット(RGMII)でのネットワークアプリケーションを開発
- ビデオディスプレイアプリケーションにHDMI出力を搭載
- FPGAメザニンカード(FMC)インターフェイスでI/Oを拡張
ビデオ
ボードの概要
ブロック図
公開: 2019-05-30
| 更新済み: 2024-05-29

