onsemi NXH400N100L4Q2F2 IGBTモジュール
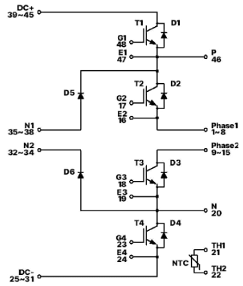
onsemi NXH400N100L4Q2F2は、分岐 I タイプ中性点3レベル・インバータを含むIGBTモジュールです。onsemi NXH400N100L4Q2F2モジュールは、1チップになったフィールドストップ・トレンチIGBTおよびFRDを活用し、導電損失とスイッチング損失を最小限に抑え、比類のない効率と信頼性を確保します。モジュールは、分岐 I タイプ中性点3レベル・インバータ・デザインが特長で、フィールドストップ技術によって非常に優れた効率を発揮するトレンチを採用しており、最適化された性能を提供します。デバイスは、温度監視用にサーミスタの内蔵に加えて、効率と信頼性をさらに高める低誘導のレイアウトとパッケージ高を有しています。特徴
- 分岐中性点3レベル・インバータ・モジュール
- フィールドストップ技術の採用により優れた効率を発揮するトレンチ
- 低誘導レイアウト
- 薄型パッケージ
- サーミスタ
アプリケーション
- ソーラーインバータ
- エネルギー貯蔵システム
- 無停電電源システム
スキーム図
公開: 2024-05-13
| 更新済み: 2024-06-24
